|
DKZ41H真空法蘭閘閥,NKZ41H法蘭真空閘閥原理作用: DKZ41H真空法蘭閘閥,NKZ41H法蘭真空閘閥適用于火電廠汽機冷凝和真空負壓系統,起真空隔離密封作用。DKZ41H真空法蘭閘閥,NKZ41H法蘭真空閘閥由普通手動閘閥改進而來,區別在于真空閘閥的填料密封處多加裝一個真空密封環,DKZ41H真空法蘭閘閥,NKZ41H法蘭真空閘閥具有自脹壓緊作用。比普通閘閥的氣密封性能更好。 DKZ41H真空法蘭閘閥,NKZ41H法蘭真空閘閥性能特點: ①設計了真空密封結構填料室,使系統與大氣隔離,具有良好的環保性能; ②選材考究,符全***內外相關標準,材料的全面質量高; ③密封副配對合理,提高了密封性能,使用壽命長; ④啟閉件采用平行閘板雙向彈性密封,摩擦力小,啟閉輕松,維修方便,密封可靠,性能優良; ⑤閥桿經調質及表面氮化處理,有良好的抗腐蝕性、抗擦傷性和耐磨性; ⑥法蘭墊片采用復合材料,膨脹系數大、氣密性能好、保證系統與大氣隔離可靠。
DKZ41H真空法蘭閘閥,NKZ41H法蘭真空閘閥部件材質:
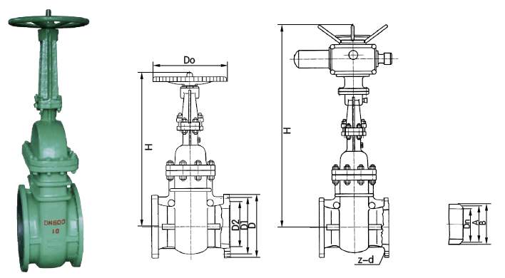
DKZ41H真空法蘭閘閥,NKZ41H法蘭真空閘閥外形尺寸:
|
|||||||||||||||||||||||||||||||||||||||||||||||||||||||||||||||||||||||||||||||||||||||||||||||||||||||||||||||||||||||||||||||||||||||||||||||||||||||||||||||||||||||||||||||||||||||||||||||||||||||||||||||||||||||||||||||||||||||||||||||||||
-
設計了真空密封結構填料室,使系統與大氣隔離,具有良好的環保性能。
-
密封副配對合理,提高了密封性能,使用壽命長。
-
根據用戶提供的流量、壓力提供選型規格書及控制方案圖。
-
閥桿經調質及表面氮化處理,有良好的抗腐蝕性、抗擦傷性和耐磨性。
-
啟閉件采用平行閘板雙向彈性密封,摩擦力小,啟閉輕松,維修方便,密封可靠,性能優良。
-
水、蒸汽、油品、硝酸、醋酸、氧化性介質、尿素等多種介質。


